首页 > 选型 安装 维修
[安装敷设] 【收藏】电缆附件典型案例事故分析
P:2019-03-12 21:48:53
1
一)、10kV冷浇注树脂中间接头击穿

事故原因:
由于中间接头连管压接不紧,电阻增大,导电体发热温升过高,导致绝缘碳化,以至于相间击穿。
(二)、10kV热缩终端击穿故障

事故原因:
应控管体积电阻率过低,击穿故障一般出现于应控管以上;
应控管体积电阻率过高,击穿故障一般出现于应控管以内。
(三)、35kV热缩终端头应控管附近电晕

原因分析:
电缆屏蔽未端及应控管内部由于存在气隙,在高压电场下发生电晕。
(四)、10kV热缩中间头反应力锥处击穿
事故原因:
由于中间接头没有切削反应力锥,连接管与绝缘连接处电场突变,导致击穿。
(五)、35kV预制户外终端头爬穿
事故原因:
由于户外终端绝缘套内孔孔径过大,与电缆绝缘过盈不到1mm,界面压紧力不够而爬穿。
(六)、35kV预制中间接头爬穿

事故原因:
由于预制中间头半导电层脱碳,加上过盈量太小,为1mm,导致界面压力不足,而爬穿。
(七)、10kV冷缩中间接头击穿
事故原因:
由于连接管压接后伸长过长,安装尺寸没有在中心,而偏向一端,造成连接管脱离屏蔽套,电场无法改善而击穿。
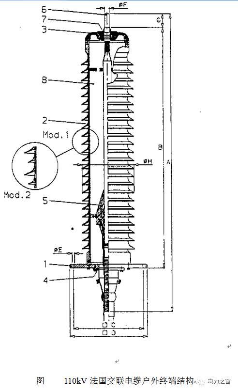
(八)、法国110kV交联电缆户外终端事故

事故原因:
由于上部密封设计不良,造成进水,终端受潮短路而击穿。
(九)、110kV交联电缆户外终端事故
事故原因:
由于施工时电缆剥切尺寸弄错,绝缘屏蔽多剥掉130mm,结果使得应力锥脱开绝缘屏蔽70mm,无法改善电场,而运行一年后击穿。
(十)、110kV预制中间接头爬穿
事故原因:
由于施工安装时,箍在接头连管外的金属均压套凹槽中的恒力弹簧尾部没有包扎好,造成套入绝缘套时,严重划伤绝缘套内表面形成爬电通道而击穿。
以上是一些电缆附件事故的一些案例。以下是个人观点:电缆附件的事故大部分原因是安装不够谨慎,细致导致,另外技术设计原因占据还是较为少数的。成本材料问题这个多数是降本原因导致,这些一般和寿命关系较大。电缆附件一般如果严格按照出厂检验要求执行,在质量上,基本是没有问题的。但是真正有没有按照检验程序走就只能人云亦云了啊!总而言之,电力安全无小事,希望不管施工方也好,生产方也罢,大家都应该严肃,认真的去对待,对自己负责,对公司负责,对人名负责!
VHF - very-high frequency甚高频,极高频 (6) 投诉
- [电缆附件] 电缆附件技术问答
- [电缆附件] 那位高手有用ANSYS分析电缆附件电场分布的教程。
- [电缆附件] 高压交联聚乙烯绝缘电缆线路中的预制式电缆附件
- [电缆附件] 求冷缩电缆附件生产工艺
- [电缆附件] 电缆附件有哪些适用标准?
- [国家标准] GB/T 41629.3-2022 额定电压500 kV(Um550 kV)交联聚乙烯绝缘大长度交流海底电缆及附件 第3部分:海底电缆附件
- [电缆附件] 电缆附件技术人员来
- [行业新闻] 110千伏电缆附件被盗 国网西宁供电公司火速抢修
- [国家标准] GB/T 32346.3-2015 额定电压220kV(Um=252kV)交联聚乙烯绝缘大长度交流海底电缆及附件第3部分:海底电缆附件
34
