首页 > 汽车线缆
[汽车线束] 未来我们会不会因为FPC而失业,站在FPC的角度看特斯拉线束新结构专利,你会发现很有意思,你认为那100m能实现吗?
P:2020-03-30 22:13:26
1

讲一下这家伙的历史:




有多层导体的多面板

FPC中的绝缘基材是可挠曲的绝缘薄膜,通常用的是聚酰亚胺(PI)薄膜和聚酯(PET)薄膜两种,PI价格较高,但其耐燃性较佳;PET价格较低,但不耐热。因此若有焊接要求时多均选用PI薄膜。
挠性印制电路最常用的金属导体层是铜箔,分为压延铜箔(RA)和电解铜箔(ED),箔的厚度有18微米、35微米和70微米。
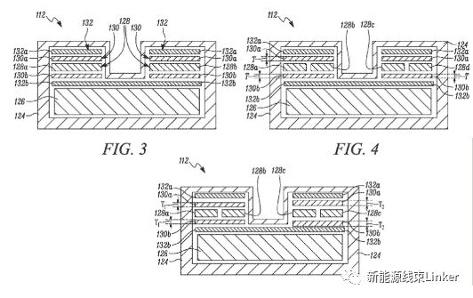
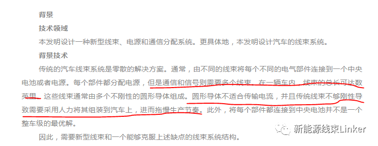
OK,讲到这里我们要聊一下特斯拉Model Y全车那100m线束长度的梦想和他的专利,你品,你细品,他的专利灵感来源于哪里?

你再品,他不过是把传统FPC的连接结构改为了螺栓连接,由于他过电流比较大,选用的铜板或软排替换铜箔而已。

now,我们讲讲这样搞得好处,实际上也就是FPC的优点,以下是特斯拉新型导线的专利背景,FPC的优势高密度布线、自动化装配。

至此我们已经把特斯拉梦想线束结构灵感分析的很清楚了,那我们来讲下目前FPC在新能源汽车上的应用。
替换传统的电池采样线,以下是传统的电池包中的电池采样线。

使用了FPC的电池包是不是规整很多。

优点有哪些呢?
1. 集成度高:可嵌入式Fuse、连接器、片式NTC、铝/镍端子;能满足更小型和更高密度安装的设计需要三度空间布线且外型可顺空间的局限做改变,适用于向高密度、小型化、高可靠方向发展的需要,从而达到元器件装配和导线连接的一体化。
2. 可实现自动化组装:组装快、精准,利于实现自动化;在装配和容错这里,可以避免很多线束设计中由于手工出现的差错,在接插件层面也减少了很多插错的机会。使用FPC采样,可降低Module集成工艺复杂度,FPC与电池busbar(汇流排)的连接可实现自动化焊接,有效减少了人工成本。即使客户在无法成熟实现自动化焊接的情况下,采用传统螺丝锁紧的方式,仍然可以有效降低了人工的投入。
3. 超薄厚度:线路区 0.34mm,NTC处2mm。
4. 超柔软度:线路区可实现90°、180°弯折组装。
5. 轻量化:整车使用时,可比线束方案减重约1kg。
6. 成本优势:从成本来看,FPC本身的成本并不高,对于连接成本而言,是有很大的降低的幅度。
总结:
Model Y全车那100m线束长度的梦想,已经足以说明FPC将来在新能源汽车领域应用的前景,其集成度高、轻量化、自动化安装的优势对比线束来讲优势明显。

夜已深,写的意犹未尽,但是还是要休息,如果各位感觉写的有那么点意思,欢迎转载,转载请标明来自“新能源线束Linker”,多谢!
stacked ribbon cable - 多层带状电缆,叠层带状电缆;束带堆光缆 (1) 投诉
7
