电线电缆网 > 线缆机器设备 > 请问哪里有“高温压力试验”的治具卖?(完整版)

请问哪里有“高温压力试验”的治具卖? - 无图版

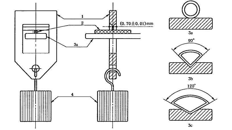
252033957 --- 2021-06-30 14:02:06

1

如题

image.png

lsdb2008 --- 2021-06-30 15:01:10

2

我认识一位卖过,蒋先生,电话13829108869.
lippman --- 2021-07-01 09:06:17

3

做这个的厂家很多,买的时候配合你的烘箱尺寸
-- 结束 --